Je vais faire le dimensionnement structurel de votre bâtiment

Vente 0

Proposé par ing_toviho Ventes au total 26

Vous avez un projet de construction, mais vous ne savez pas comment assurer la stabilité et la sécurité de votre bâtiment ? Les éléments structurels, tels que les fondations, les poutres, poteaux, … jouent un rôle essentiel pour assurer la stabilité et la sécurité d'une structure. Tous les éléments doivent être conçus de manière à répartir et à transférer efficacement les charges.

Je suis ingénieur de conception en bâtiment et travaux publics, je travaille au sein de l’un des plus grands bureaux d’ingénieurs conseils de mon pays. Fort d’une expertise et d’une expérience éprouvée dans le domaine, je mets mes compétences à votre service pour garantir la fiabilité et la pérennité de vos structures.

Voici ce que je vous propose dans mon offre basique :

Une analyse complète et précise de votre projet à partir des plans architecturaux ou croquis fournis.
Le dimensionnement structurel de votre bâtiment selon les normes en vigueur( BAEL 91 modifié 99, Eurocode 2, ...)
Un dossier d’exécution détaillé comprenant :
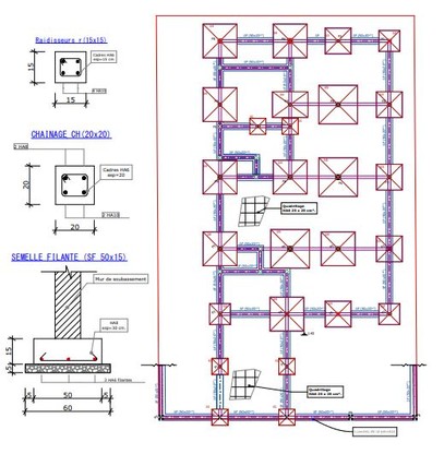
Les plans de fondations.
Les plans de poutraisons.
Les plans de coffrages.
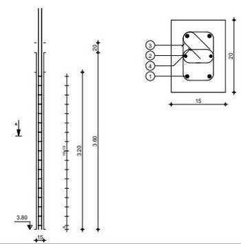
Les plans de ferraillage des éléments porteurs (semelles, poteaux, poutres,...).

Comment cela se passe ?

Vous me transmettez les documents nécessaires (plans ou croquis avec dimensions).
J’utilise des logiciels (Robot Structural Analysis Pro, Cype... ) et mes connaissances approfondies pour concevoir une structure adaptée à vos besoins.
Vous recevez un dossier clair et professionnel, prêt à être utilisé par vos techniciens sur le chantier.

Avec mon service, vous êtes assuré de bénéficier d’un travail rigoureux, exécuté dans les règles de l’art, et d’un accompagnement personnalisé tout au long du processus.

Mon service de base inclut tout le nécessaire pour assurer la réussite de votre projet : un dimensionnement structurel complet et un dossier d’exécution détaillé, prêt à l’emploi.

Tarifs et délais :

Offre basique : Pour seulement 29,35 $US, je réalise le dimensionnement de votre bâtiment jusqu’à 50 m² avec un dossier technique complet.
NB : La surface est évaluée niveau par niveau (RDC, R+1, R+2, R+3, ...).

Je vais faire le dimensionnement structurel de votre bâtiment

Ce vendeur n’est pas assujetti à la TVA.

Personnaliser le service

  1. Commandez le
    service de votre choix
    à l’un de nos vendeurs
  2. Échangez par chat sur le
    site jusqu’à la livraison en toute sécurité
  3. Le vendeur n’est payé que
    lorsque vous validez la livraison

À propos du vendeur

ing_toviho

Performance
Commande en cours 0 Ventes au total 26 Vendeur depuis nov. 2020
Commande en cours 0 Ventes au total 26 Vendeur depuis nov. 2020

Je suis Ambroise TOVIHO à l’état civil, titulaire d’un diplôme d'ingénieur de conception en génie civil option Bâtiment et Travaux Publics (BTP), avec une expertise avérée en conception architecturale et dimensionnement structurel. Je mets mes compétences à votre service pour concrétiser vos projets, qu’ils soient résidentiels, commerciaux ou industriels. Mon approche repose sur la précision, l’innovation et une parfaite maîtrise des normes en vigueur. Soyez-en rassuré ! Je vous garantis une entière satisfaction.

En savoir plus